FH31LA
Electric latching Relay
Feature Description
● 80A switching capability
● Single coil and double coils are available
● Terminal configuration LNNL?External accessories such as manganese copper shunts and transformers can be ordered according to customer requirements
● Breakdown voltage (between contact and coil):4KV
● Meet standard of IEC62052-31:2005 UC2
● Environment-friendly product(RoHS compliant)
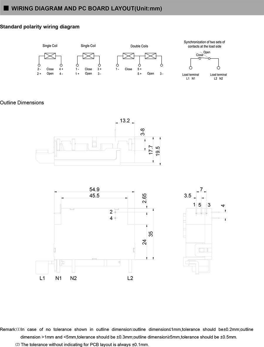
● Outline Dimensions:(54.9x35x17.7)mm
● Can be integrated design, convenient automatic installation and production
● Power frequency interference resistance, and good consistency
● Main application: smart meter
Product Description
Download PDF




